



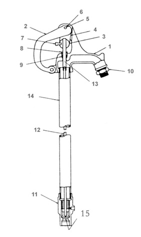
⑴产品名称:防冻剂消火栓
⑵材料:铸铁
⑶颜色:红色,蓝色,绿色,黑色,黄色,白色(或者你喜欢)
⑷连接:镀锌钢
⑸连接器:黄铜
⑹接头:黄铜
⑺软管适配器:黄铜
⑻阀:黄铜
钢管:钢镀锌
⑽品牌:艾伦(或者你喜欢)
⑾包装:内包装白色纸箱或其他外包装铁架
⑿用途:-30-80摄氏度,适用于户外或寒冷条件下,压力不能超过80Psi的非腐蚀性水或设备,具有环保,节能,使用方便等特点
| 型号 | 产品深度 | 产品总长 | 出口连接尺寸 | 入口连接尺寸 | 排水孔连接尺寸 |
| ALAN-YH201 | 1" | 39 | 3/4-11.5NH | 3/4-14NPT | 1/8-27NPT |
| ALAN-YH202 | 2" | 51 | 3/4-11.5NH | 3/4-14NPT | 1/8-27NPT |
| ALAN-YH203 | 3" | 63 | 3/4-11.5NH | 3/4-14NPT | 1/8-27NPT |
| ALAN-YH204 | 4" | 75 | 3/4-11.5NH | 3/4-14NPT | 1/8-27NPT |
| ALAN-YH205 | 5" | 87 | 3/4-11.5NH | 3/4-14NPT | 1/8-27NPT |
| ALAN-YH206 | 6" | 99 | 3/4-11.5NH | 3/4-14NPT | 1/8-27NPT |
| ALAN-YH208 | 8" | 123 | 3/4-11.5NH | 3/4-14NPT | 1/8-27NPT |
| ALAN-YH210 | 10" | 147 | 3/4-11.5NH | 3/4-14NPT | 1/8-27NPT |

